DEHNflex
:quality(98)/www.dehn.hu/store/f/60025252/HDVORSCHAU/924396a1_16-9.jpg)
:quality(98)/www.dehn.hu/store/f/60025252/HDVORSCHAU/924396a1_16-9.jpg)
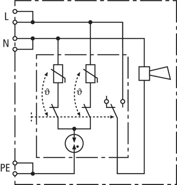
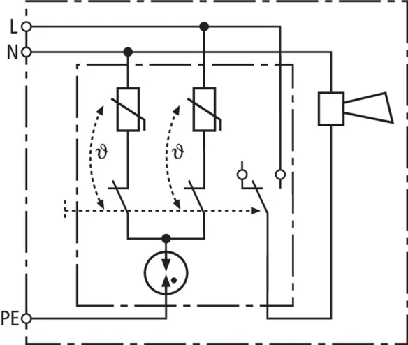
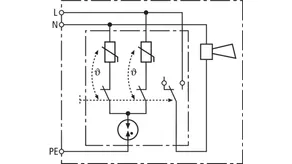
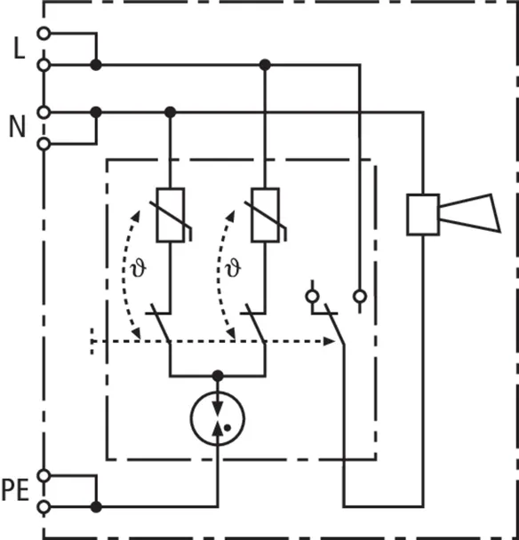
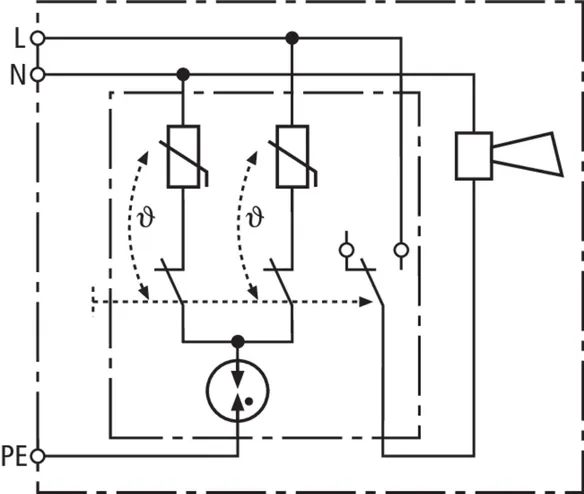
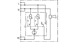
- Kétpólusú túlfeszültségvédelem felügyeleti eszközzel és leválasztó eszközzel
- Megnövelt biztonság hibatűrő Y védelmi áramkör által
- Akusztikus hibajelzés
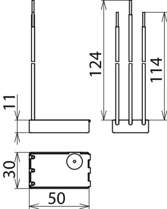
- Kompakt kivitel
- Álpadló alatti rendszerekben, kábelcsatornákban és szerelvénydobozokban való használatra
Details
:quality(98)/www.dehn.hu/store/f/60025253/HDVORSCHAU/924396a3_Kat.jpg)
:quality(98)/www.dehn.hu/store/f/60025253/HDVORSCHAU/924396a3_Kat.jpg)
Cikkszám 924396 DFL M 255
GTIN 4013364091016, Vámtarifa szám (EU): 85363010, Bruttó súly: 34.51 g, PU: 1.00 db.
Műszaki adatok
SPD típus az MSZ EN 61643-11 / ... IEC 61643-11 | 3. típus / III. osztály |
Legnagyobb tartós üzemi feszültség AC (UC ) | 255 V (50 / 60 Hz) |
Névleges levezetési lökőáram (8/20 µs) (In ) | 1,5 kA |
Teljes levezetési áram (8/20 µs) [L+N-PE] (Itotal ) | 3 kA |
Védelmi feszültségszint [L-N] / [L/N-PE] (UP ) | ≤ 1250 / ≤ 1500 V |
Max. hálózatoldali túláramvédelem | B 16 A |
Hibajelzés | Duda be |
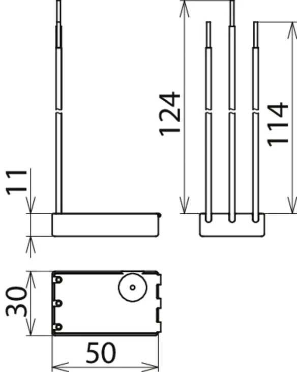
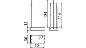
Beépítési méretek | 30 x 50 x 11 mm |
Cikkszám 924389 DFL A 255
GTIN 4013364073692, Vámtarifa szám (EU): 85363010, Bruttó súly: 39.87 g, PU: 1.00 db.
Műszaki adatok
SPD típus az MSZ EN 61643-11 / ... IEC 61643-11 | 3. típus / III. osztály |
Legnagyobb tartós üzemi feszültség AC (UC ) | 255 V (50 / 60 Hz) |
Névleges levezetési lökőáram (8/20 µs) (In ) | 3 kA |
Teljes levezetési áram (8/20 µs) [L+N-PE] (Itotal ) | 5 kA |
Védelmi feszültségszint [L-N] / [L/N-PE] (UP ) | ≤ 1250 / ≤ 1500 V |
Max. hálózatoldali túláramvédelem | B 16 A |
Hibajelzés | Duda be |
Beépítési méretek | 36 x 46 x 19 mm |
Cikkszám 924395 DFL D 255
GTIN 4013364076334, Vámtarifa szám (EU): 85363010, Bruttó súly: 79.30 g, PU: 1.00 db.
Műszaki adatok
SPD típus az MSZ EN 61643-11 / ... IEC 61643-11 | 3. típus / III. osztály |
Legnagyobb tartós üzemi feszültség AC (UC ) | 255 V (50 / 60 Hz) |
Névleges levezetési lökőáram (8/20 µs) (In ) | 3 kA |
Teljes levezetési áram (8/20 µs) [L+N-PE] (Itotal ) | 5 kA |
Védelmi feszültségszint [L-N] / [L/N-PE] (UP ) | ≤ 1250 / ≤ 1500 V |
Max. hálózatoldali túláramvédelem | B 16 A |
Hibajelzés | Duda be |
Beépítési méretek | 36 x 46 x 19 mm |