Potenciálkiegyenlítés kábeltálcákhoz robbanásveszélyes terekhez 2/22 zóna

A potenciálkiegyenlítő rendszert kábeltálcákra kell szerelni és minden vezetőképes részt és villamos készüléket be kell vonni az Ex-es potenciálkiegyenlítő rendszerbe potenciálkiegyenlítő lemezek, kapcsok és gyűrűs potenciálkiegyenlítő vezetők segítségével. Ezzel biztosított a végigmenő összekötés.

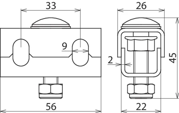
Potenciálkiegyenlítő kapocs és lemez kábeltálcához

Potenciálkiegyenlítő kapocs (PAK) kábeltálca

  • Csatlakozás csak gyűrűs potenciálkiegyenlítő vezetővel (ónozott rézsodrony)
  • Rögzítés oldalt perforált kábeltálcához vagy potenciálkiegyenlítő lemezhez (PAP 1 / PAP 2)
  • A potenciálkiegyenlítő kapcsot kb. 0,5 m-enként kell alkalmazni

6 Termékek

Cikkszám 306200 PAK 35 M8 EX KB ER

GTIN 4013364327368, Vámtarifa szám (EU): 85359000, Bruttó súly: 113.40 g, PU: 50.00 db.


Képek

További információ

Potenciálkiegyenlítő kapocs kábeltartó rendszerekhez
Potenciálkiegyenlítő kapocs gyűrűs potenciálkiegyenlítő
vezető fektetéséhez
egyedi kapocsként rögzítésre az oldalt
perforált kábeltálcán, kábelcsatornán
vagy átfogó kábeltálca lyukasztásokkal
valamint a rögzítéshez a PAP1-EX-KB-ER potenciálkiegyenlítő lemezen
vagy PAP2-EX-KB-ER
alkalmazható 2/22 EX zónában
Anyag: NIRO
Befogási tartomány gyűrűs potenciálkiegyenlítő vezető: 35 mm², Cu/gal Sn
Anyagszám: 1.4301
EX zóna: 2/22

Gyártó: DEHN
Típus: PAK 35 M8 EX KB ER
Cikksz.: 306200
vagy egyenértékű.

Tanúsítványok

 

Műszaki adatok

Anyag NIRO
Csatlakozás PAP 1 EX KB ER ill. PAP 2 EX KB ER vagy kábeltálca, ill. átfogó kábeltálca
Befogási tartomány gyűrűs potenciálkiegyenlítő vezető 35 mm², Cu /gal Sn
Csavar M8 x 40 mm
Csavar / anya anyaga NIRO
Anyagszám 1.4301
EX zóna 2/22
Rövidzárlati áram AC (50 Hz / 5 s) 1,5 kA
Rövidzárlati áram DC (5 s) 250 A

A 306200 termék hozzá lett adva a jegyzettömbhöz.

A 306200 terméket hozzáadtuk a kosárhoz.

Webshop indítása

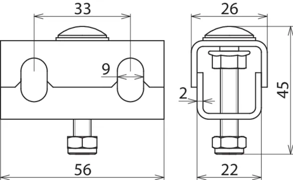
Cikkszám 306201 PAK 50 M8 EX KB ER

GTIN 4013364327375, Vámtarifa szám (EU): 85359000, Bruttó súly: 128.80 g, PU: 50.00 db.


Képek

További információ

Potenciálkiegyenlítő kapocs kábeltartó rendszerekhez
Potenciálkiegyenlítő kapocs gyűrűs
potenciálkiegyenlítő vezető fektetéséhez
egyedi kapocsként rögzítésre az oldalt
perforált kábeltálcán, kábelcsatornán
vagy átfogó kábeltálca lyukasztásokkal
valamint a rögzítéshez a PAP1-EX-KB-ER potenciálkiegyenlítő lemezen
vagy PAP2-EX-KB-ER
alkalmazható 2/22 EX zónában
Anyag: NIRO
Befogási tartomány gyűrűs potenciálkiegyenlítő vezető: 50 mm², Cu/gal Sn
Anyagszám: 1.4301
EX zóna: 2/22

Gyártó: DEHN
Típus: PAK 50 M8 EX KB ER
Cikksz.: 306201
vagy egyenértékű.

Tanúsítványok

 

Műszaki adatok

Anyag NIRO
Csatlakozás PAP 1 EX KB ER ill. PAP 2 EX KB ER vagy kábeltálca, ill. átfogó kábeltálca
Befogási tartomány gyűrűs potenciálkiegyenlítő vezető 50 mm², Cu /gal Sn
Csavar M8 x 40 mm
Csavar / anya anyaga NIRO
Anyagszám 1.4301
EX zóna 2/22

A 306201 termék hozzá lett adva a jegyzettömbhöz.

A 306201 terméket hozzáadtuk a kosárhoz.

Webshop indítása

Cikkszám 306202 PAK 70 M8 EX KB ER

GTIN 4013364327351, Vámtarifa szám (EU): 85359000, Bruttó súly: 110.00 g, PU: 50.00 db.


Képek

További információ

Potenciálkiegyenlítő kapocs kábeltartó rendszerekhez
Potenciálkiegyenlítő kapocs gyűrűs
potenciálkiegyenlítő vezető fektetéséhez
egyedi kapocsként rögzítésre az oldalt
perforált kábeltálcán, kábelcsatornán
vagy átfogó kábeltálca lyukasztásokkal
valamint a rögzítéshez a PAP1-EX-KB-ER potenciálkiegyenlítő lemezen
vagy PAP2-EX-KB-ER
alkalmazható 2/22 EX zónában
Anyag: NIRO
Befogási tartomány gyűrűs potenciálkiegyenlítő vezető: 70 mm², Cu/gal Sn
Anyagszám: 1.4301
EX zóna: 2/22

Gyártó: DEHN
Típus: PAK 70 M8 EX KB ER
Cikksz.: 306202
vagy egyenértékű.

Tanúsítványok

 

Műszaki adatok

Anyag NIRO
Csatlakozás PAP 1 EX KB ER ill. PAP 2 EX KB ER vagy kábeltálca, ill. átfogó kábeltálca
Befogási tartomány gyűrűs potenciálkiegyenlítő vezető 70 mm², Cu /gal Sn
Csavar M8 x 40 mm
Csavar / anya anyaga NIRO
Anyagszám 1.4301
EX zóna 2/22
Rövidzárlati áram AC (50 Hz / 5 s) 1,5 kA
Rövidzárlati áram DC (5 s) 250 A

A 306202 termék hozzá lett adva a jegyzettömbhöz.

A 306202 terméket hozzáadtuk a kosárhoz.

Webshop indítása

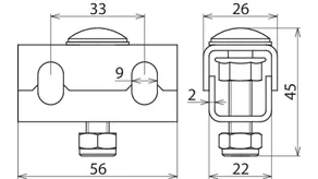
Cikkszám 306204 PAK 35 M6 EX KB ER

GTIN 4013364336766, Vámtarifa szám (EU): 85359000, Bruttó súly: 98.20 g, PU: 50.00 db.


Képek

További információ

Potenciálkiegyenlítő kapocs kábeltartó rendszerekhez
Potenciálkiegyenlítő kapocs gyűrűs
potenciálkiegyenlítő vezető fektetéséhez
egyedi kapocsként rögzítésre az oldalt
perforált kábeltálcán, kábelcsatornán
vagy átfogó kábeltálca lyukasztásokkal
valamint a rögzítéshez a PAP1-EX-KB-ER potenciálkiegyenlítő lemezen
vagy PAP2-EX-KB-ER
alkalmazható 2/22 EX zónában
Anyag: NIRO
Befogási tartomány gyűrűs potenciálkiegyenlítő vezető: 35 mm², Cu/gal Sn
Anyagszám: 1.4301
EX zóna: 2/22

Gyártó: DEHN
Típus: PAK 35 M6 EX KB ER
Cikksz.: 306204
vagy egyenértékű.

Tanúsítványok

 

Műszaki adatok

Anyag NIRO
Csatlakozás PAP 1 EX KB ER ill. PAP 2 EX KB ER vagy kábeltálca, ill. átfogó kábeltálca
Befogási tartomány gyűrűs potenciálkiegyenlítő vezető 35 mm², Cu /gal Sn
Csavar M6 x 35 mm
Csavar / anya anyaga NIRO
Anyagszám 1.4301
EX zóna 2/22

A 306204 termék hozzá lett adva a jegyzettömbhöz.

A 306204 terméket hozzáadtuk a kosárhoz.

Webshop indítása

Cikkszám 306205 PAK 50 M6 EX KB ER

GTIN 4013364336773, Vámtarifa szám (EU): 85359000, Bruttó súly: 95.60 g, PU: 50.00 db.


Képek

További információ

Potenciálkiegyenlítő kapocs kábeltartó rendszerekhez
Potenciálkiegyenlítő kapocs gyűrűs
potenciálkiegyenlítő vezető fektetéséhez
egyedi kapocsként rögzítésre az oldalt
perforált kábeltálcán, kábelcsatornán
vagy átfogó kábeltálca lyukasztásokkal
valamint a rögzítéshez a PAP1-EX-KB-ER potenciálkiegyenlítő lemezen
vagy PAP2-EX-KB-ER
alkalmazható 2/22 EX zónában
Anyag: NIRO
Befogási tartomány gyűrűs potenciálkiegyenlítő vezető: 50 mm², Cu/gal Sn
Anyagszám: 1.4301
EX zóna: 2/22

Gyártó: DEHN
Típus: PAK 50 M6 EX KB ER
Cikksz.: 306205
vagy egyenértékű.

Tanúsítványok

 

Műszaki adatok

Anyag NIRO
Csatlakozás PAP 1 EX KB ER ill. PAP 2 EX KB ER vagy kábeltálca, ill. átfogó kábeltálca
Befogási tartomány gyűrűs potenciálkiegyenlítő vezető 50 mm², Cu /gal Sn
Csavar M6 x 35 mm
Csavar / anya anyaga NIRO
Anyagszám 1.4301
EX zóna 2/22

A 306205 termék hozzá lett adva a jegyzettömbhöz.

A 306205 terméket hozzáadtuk a kosárhoz.

Webshop indítása

Cikkszám 306206 PAK 70 M6 EX KB ER

GTIN 4013364336780, Vámtarifa szám (EU): 85359000, Bruttó súly: 94.20 g, PU: 50.00 db.


Képek

További információ

Potenciálkiegyenlítő kapocs kábeltartó rendszerekhez
Potenciálkiegyenlítő kapocs gyűrűs
potenciálkiegyenlítő vezető fektetéséhez
egyedi kapocsként rögzítésre az oldalt
perforált kábeltálcán, kábelcsatornán
vagy átfogó kábeltálca lyukasztásokkal
valamint a rögzítéshez a PAP1-EX-KB-ER potenciálkiegyenlítő lemezen
vagy PAP2-EX-KB-ER
alkalmazható 2/22 EX zónában
Anyag: NIRO
Befogási tartomány gyűrűs potenciálkiegyenlítő vezető: 70 mm², Cu/gal Sn
Anyagszám: 1.4301
EX zóna: 2/22

Gyártó: DEHN
Típus: PAK 70 M6 EX KB ER
Cikksz.: 306206
vagy egyenértékű.

Tanúsítványok

 

Műszaki adatok

Anyag NIRO
Csatlakozás PAP 1 EX KB ER ill. PAP 2 EX KB ER vagy kábeltálca, ill. átfogó kábeltálca
Befogási tartomány gyűrűs potenciálkiegyenlítő vezető 70 mm², Cu /gal Sn
Csavar M6 x 35 mm
Csavar / anya anyaga NIRO
Anyagszám 1.4301
EX zóna 2/22

A 306206 termék hozzá lett adva a jegyzettömbhöz.

A 306206 terméket hozzáadtuk a kosárhoz.

Webshop indítása

Potenciálkiegyenlítő kapocs rácstálcához

Potenciálkiegyenlítő kapocs (PAK) rácstálca

  • Csatlakozás csak a gyűrűs potenciálkiegyenlítő vezetővel 35 mm2, cikkszám 832 838 (ónozott rézkábel)
  • – Rögzítés rácstálcához vagy potenciálkiegyenlítő lemezhez (PAP 1 / PAP 2)
  • A potenciálkiegyenlítő kapcsot kb. 0,5 m-enként kell alkalmazni

1 Termék

Cikkszám 306203 PAK 35 M8 EX GI ER

GTIN 4013364327382, Vámtarifa szám (EU): 85359000, Bruttó súly: 128.80 g, PU: 50.00 db.


Képek

További információ

Potenciálkiegyenlítő kapocs kábeltartó rendszerekhez
Potenciálkiegyenlítő kapocs gyűrűs
potenciálkiegyenlítő vezető fektetéséhez
egyedi kapocsként rögzítésre
oldalt a rácstálcán
valamint a rögzítéshez a PAP1-EX-GI-ER potenciálkiegyenlítő lemezen
vagy PAP2-EX-GI-ER
alkalmazható 2/22 EX zónában
Anyag: NIRO
Befogási tartomány gyűrűs potenciálkiegyenlítő vezető: 35 mm², Cu/gal Sn
Anyagszám: 1.4301
EX zóna: 2/22

Gyártó: DEHN
Típus: PAK 35 M8 EX GI ER
Cikksz.: 306203
vagy egyenértékű.

Tanúsítványok

 

Műszaki adatok

Anyag NIRO
Csatlakozás PAP 1 EX GI ER ill. PAP 2 EX GI ER vagy rácstálca
Befogási tartomány gyűrűs potenciálkiegyenlítő vezető 35 mm², Cu/gal Sn
Csavar M8 x 40 mm
Csavar / anya anyaga NIRO
Anyagszám 1.4301
EX zóna 2/22
Rövidzárlati áram AC (50 Hz / 5 s) 1,5 kA
Rövidzárlati áram DC (5 s) 250 A

A 306203 termék hozzá lett adva a jegyzettömbhöz.

A 306203 terméket hozzáadtuk a kosárhoz.

Webshop indítása

Potenciálkiegyenlítő lemez kábeltálcához

Potenciálkiegyenlítő lemez (PAP) kábeltálca

  • Potenciálkiegyenlítő kapocs (PAK) fogadó a gyűrűs potenciálkiegyenlítő vezető számára (réz ónozott)
  • Rögzítés oldalt perforált kábeltálcán

2 Termékek

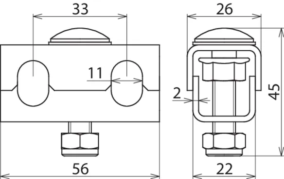
Cikkszám 306210 PAP 1 EX KB ER

GTIN 4013364327399, Vámtarifa szám (EU): 85359000, Bruttó súly: 374.00 g, PU: 15.00 db.


Képek

További információ

Potenciálkiegyenlítő lemez kábeltartó rendszerekhez
Potenciálkiegyenlítő lemez csatlakozáshoz
oldalt perforált kábeltálcán, kábelcsatornán
vagy átfogó kábeltálca lyukasztásokkal
a kábeltálca (KB) potenciálkiegyenlítő kapocs fogadására
alkalmazható 2/22 EX zónában
Anyag: NIRO
Csatlakozó furatok potenciálkiegyenlítő vezetőkhöz kábelsaruval: 3x Ø11 mm, 3x Ø9 mm, húzásmentesítés 3x sodronykapocs M6
EX zóna: 2/22

Gyártó: DEHN
Típus: PAP 1 EX KB ER
Cikksz.: 306210
vagy egyenértékű.

Tanúsítványok

 

Műszaki adatok

Anyag NIRO
Méret 120 x 180 mm
Csatlakozó furatok potenciálkiegyenlítő vezetőkhöz kábelsaruval 3x Ø11 mm, 3x Ø9 mm, húzásmentesítés 3x sodronykapocs M6
Csatlakozási lehetőség potenciálkiegyenlítő kapcsokhoz PAK ... EX KB ER
rögzítőfuratokra kábeltálcához [4x] 9 x 20 / [1x] 9 x 9 mm
EX zóna 2/22
Rövidzárlati áram AC (50 Hz / 5 s) 1,5 kA
Rövidzárlati áram DC (5 s) 250 A

A 306210 termék hozzá lett adva a jegyzettömbhöz.

A 306210 terméket hozzáadtuk a kosárhoz.

Webshop indítása

Cikkszám 306211 PAP 2 EX KB ER

GTIN 4013364327405, Vámtarifa szám (EU): 85359000, Bruttó súly: 401.00 g, PU: 15.00 db.


Képek

További információ

Potenciálkiegyenlítő lemez kábeltartó rendszerekhez
Potenciálkiegyenlítő lemez csatlakozáshoz
oldalt perforált kábeltálcán, kábelcsatornán
vagy átfogó kábeltálca lyukasztásokkal
a kábeltálca (KB) potenciálkiegyenlítő kapocs fogadására
alkalmazható 2/22 EX zónában
Anyag: NIRO
Csatlakozó furatok potenciálkiegyenlítő vezetőkhöz kábelsaruval: 2x Ø11 mm, 12x Ø7 mm
EX zóna: 2/22

Gyártó: DEHN
Típus: PAP 2 EX KB ER
Cikksz.: 306211
vagy egyenértékű.

Tanúsítványok

 

Műszaki adatok

Anyag NIRO
Méret 120 x 195 mm
Csatlakozó furatok potenciálkiegyenlítő vezetőkhöz kábelsaruval 2x Ø11 mm, 12x Ø7 mm
Csatlakozási lehetőség potenciálkiegyenlítő kapcsokhoz PAK ... EX KB ER
rögzítőfuratokra kábeltálcához [4x] 9 x 20 / [1x] 9 x 9 mm
EX zóna 2/22
Rövidzárlati áram AC (50 Hz / 5 s) 1,5 kA
Rövidzárlati áram DC (5 s) 250 A

A 306211 termék hozzá lett adva a jegyzettömbhöz.

A 306211 terméket hozzáadtuk a kosárhoz.

Webshop indítása

Potenciálkiegyenlítő lemez rácsos kábeltálcához

Potenciálkiegyenlítő lemez (PAP) rácstálca

  • Potenciálkiegyenlítő kapocs (PAK) fogadó a gyűrűs potenciálkiegyenlítő vezető számára (réz ónozott)
  • Rögzítés a rácstálcán

2 Termékek

Cikkszám 306212 PAP 1 EX GI ER

GTIN 4013364327412, Vámtarifa szám (EU): 85359000, Bruttó súly: 384.00 g, PU: 15.00 db.


Képek

További információ

Potenciálkiegyenlítő lemez kábeltartó rendszerekhez
Potenciálkiegyenlítő lemez csatlakozáshoz
rácstálcán és
a rácstálca (GI) potenciálkiegyenlítő kapocs fogadására
alkalmazható 2/22 EX zónában
Anyag: NIRO
Csatlakozó furatok potenciálkiegyenlítő vezetőkhöz kábelsaruval: 3x Ø11 mm, 3x Ø9 mm, húzásmentesítés 3x sodronykapocs M6
EX zóna: 2/22

Gyártó: DEHN
Típus: PAP 1 EX GI ER
Cikksz.: 306212
vagy egyenértékű.

Tanúsítványok

 

Műszaki adatok

Anyag NIRO
Méret 120 x 180 mm
Csatlakozó furatok potenciálkiegyenlítő vezetőkhöz kábelsaruval 3x Ø11 mm, 3x Ø9 mm, húzásmentesítés 3x sodronykapocs M6
Csatlakozási lehetőség potenciálkiegyenlítő kapcsokhoz PAK ... EX KB ER
Rögzítőfuratok rácstálcához Rácstálca [4x] 9 x 20 / [1x] 9 x 9 mm
EX zóna 2/22
Rövidzárlati áram AC (50 Hz / 5 s) 1,5 kA
Rövidzárlati áram DC (5 s) 250 A

A 306212 termék hozzá lett adva a jegyzettömbhöz.

A 306212 terméket hozzáadtuk a kosárhoz.

Webshop indítása

Cikkszám 306213 PAP 2 EX GI ER

GTIN 4013364327429, Vámtarifa szám (EU): 85359000, Bruttó súly: 391.50 g, PU: 15.00 db.


Képek

További információ

Potenciálkiegyenlítő lemez kábeltartó rendszerekhez
Potenciálkiegyenlítő lemez csatlakozáshoz
rácstálcán és
a rácstálca (GI) potenciálkiegyenlítő kapocs fogadására
alkalmazható 2/22 EX zónában
Anyag: NIRO
Csatlakozó furatok potenciálkiegyenlítő vezetőkhöz kábelsaruval: 2x Ø11 mm, 12x Ø7 mm
EX zóna: 2/22

Gyártó: DEHN
Típus: PAP 2 EX GI ER
Cikksz.: 306213
vagy egyenértékű.

Tanúsítványok

 

Műszaki adatok

Anyag NIRO
Méret 120 x 195 mm
Csatlakozó furatok potenciálkiegyenlítő vezetőkhöz kábelsaruval 2x Ø11 mm, 12x Ø7 mm
Csatlakozási lehetőség potenciálkiegyenlítő kapcsokhoz PAK ... EX KB ER
Rögzítőfuratok rácstálcához [4x] 9 x 20 / [1x] 9 x 9 mm
EX zóna 2/22
Rövidzárlati áram AC (50 Hz / 5 s) 1,5 kA
Rövidzárlati áram DC (5 s) 250 A

A 306213 termék hozzá lett adva a jegyzettömbhöz.

A 306213 terméket hozzáadtuk a kosárhoz.

Webshop indítása

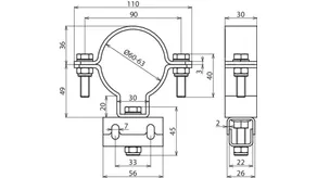
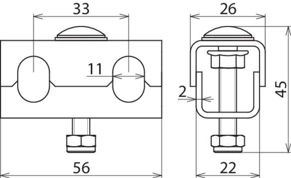
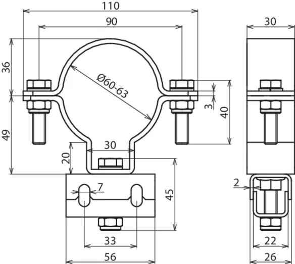
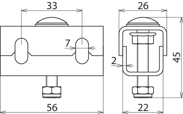
Potenciálkiegyenlítő csőbilincsek

Potenciálkiegyenlítő-csőbilincs (SBD 60 PAK 35)

  • Csatlakozás csak a gyűrűs potenciálkiegyenlítő vezetővel 35 mm2, cikkszám 832 838 (ónozott rézkábel)
  • Rögzítés kör keresztmetszetű csőre DN50 (60 mm)
  • A potenciálkiegyenlítő kapcsot kb. 0,5 m-enként kell alkalmazni

1 Termék

Cikkszám 306220 SBD 60 PAK 35 EX ER

GTIN 4013364327436, Vámtarifa szám (EU): 85359000, Bruttó súly: 408.00 g, PU: 50.00 db.


Képek

További információ

Potenciálkiegyenlítő csőbilincs kábeltartó rendszerek számára
Potenciálkiegyenlítő csőbilincs
kapoccsal gyűrűs potenciálkiegyenlítő
vezető fektetéséhez kör keresztmetszetű
csőre DN50
alkalmazható 2/22 EX zónában
Anyag: NIRO
Befogási tartomány gyűrűs potenciálkiegyenlítő vezető: 35 mm², Cu/gal Sn
EX zóna: 2/22

Gyártó: DEHN
Típus: SBD 60 PAK 35 EX ER
Cikksz.: 306220
vagy egyenértékű.

Tanúsítványok

 

Műszaki adatok

Anyag NIRO
Méret Ø60 mm
Befogási tartomány gyűrűs potenciálkiegyenlítő vezető 35 mm², Cu /gal Sn
EX zóna 2/22

A 306220 termék hozzá lett adva a jegyzettömbhöz.

A 306220 terméket hozzáadtuk a kosárhoz.

Webshop indítása

Sodronykapocs

Sodronykapocs húzásmentesítésként rézsodrony fektetésénél PAP1 EX KB ER, ill. PAP1 EX GI ER potenciálkiegyenlítő lemezre.

2 Termékek

Cikkszám 306230 MPE S 35 ER

GTIN 4013364327443, Vámtarifa szám (EU): 85359000, Bruttó súly: 10.60 g, PU: 10.00 db.


Képek

További információ

Sodronykapocs kábeltartó rendszerek számára
Sodronykapocs húzásmentesítésként
rézsodrony fektetésénél
potenciálkiegyenlítő
lemezre
PAP1-EX-KB-ER, ill. PAP1-EX-GI-ER

Anyag: NIRO
Befogási tartomány rézsodrony: 35 mm²
EX zóna: 2/22

Gyártó: DEHN
Típus: MPE S 35 ER
Cikksz.: 306230
vagy egyenértékű.

Tanúsítványok

 

Műszaki adatok

Anyag NIRO
Csatlakozás PAP1 EX KB ER, ill. PAP1 EX GI ER
Befogási tartomány rézsodrony 35 mm²
EX zóna 2/22

A 306230 termék hozzá lett adva a jegyzettömbhöz.

A 306230 terméket hozzáadtuk a kosárhoz.

Webshop indítása

Cikkszám 306231 MPE S 50/70 ER

GTIN 4013364327450, Vámtarifa szám (EU): 85359000, Bruttó súly: 12.40 g, PU: 10.00 db.


Képek

További információ

Sodronykapocs kábeltartó rendszerek számára
Sodronykapocs húzásmentesítésként
rézsodrony
fektetésénél
potenciálkiegyenlítő lemezen
PAP1-EX-KB-ER, ill. PAP1-EX-GI-ER
Anyag: NIRO
Befogási tartomány rézsodrony: 50, ill. 70 mm²
EX zóna: 2/22

Gyártó: DEHN
Típus: MPE S 50/70 ER
Cikksz.: 306231
vagy egyenértékű.

Tanúsítványok

 

Műszaki adatok

Anyag NIRO
Csatlakozás PAP1 EX KB ER, ill. PAP1 EX GI ER
Befogási tartomány rézsodrony 50, ill. 70 mm²
EX zóna 2/22

A 306231 termék hozzá lett adva a jegyzettömbhöz.

A 306231 terméket hozzáadtuk a kosárhoz.

Webshop indítása

Biztosítóanya

Biztosítóanya sodronykapocshoz (MPE S 35 ER és MPE S 50/70 ER).

1 Termék

Cikkszám 306240 SM SS M6 ER

GTIN 4013364327467, Vámtarifa szám (EU): 85359000, Bruttó súly: 2.25 g, PU: 20.00 db.


Képek

További információ

NIRO M6 csavar
M6 csavarbiztosítás
akaratlan oldás vagy meglazulás ellen
vibráció következtében (önbiztosító)
sodronykapocs MPE S 35 ER, ill. MPE S 50/70 ER számára
Anyag: NIRO
EX zóna: 2/22

Gyártó: DEHN
Típus: SM SS M6 ER
Cikksz.: 306240
vagy egyenértékű.

Tanúsítványok

 

Műszaki adatok

Anyag NIRO
Kivitel M6
EX zóna 2/22

A 306240 termék hozzá lett adva a jegyzettömbhöz.

A 306240 terméket hozzáadtuk a kosárhoz.

Webshop indítása

Hatlapú anya

Anya sodronykapocshoz (MPE S 35 ER és MPE S 50/70 ER).

1 Termék

Cikkszám 505901 SKM M6 DIN 934 V2A

GTIN 4013364019355, Vámtarifa szám (EU): 73181639, Bruttó súly: 2.10 g, PU: 20.00 db.


Képek

További információ

NIRO M6 csavar
M6 csavarbiztosítás
akaratlan oldás vagy meglazulás ellen
vibráció következtében (önbiztosító)
sodronykapocs MPE S 35 ER, ill. MPE S 50/70 ER számára
Anyag: NIRO

Gyártó: DEHN
Típus: SKM M6 DIN 934 V2A
Cikksz.: 505901
vagy egyenértékű.

Tanúsítványok

 

Műszaki adatok

Anyag NIRO
Kivitel M6

A 505901 termék hozzá lett adva a jegyzettömbhöz.

A 505901 terméket hozzáadtuk a kosárhoz.

Webshop indítása

Rugós alátét

Rugós alátét sodronykapocshoz (MPE S 35 ER és MPE S 50/70 ER).

1 Termék

Cikkszám 524906 FR A6 V2A

GTIN 4013364004009, Vámtarifa szám (EU): 73182100, Bruttó súly: 1.00 g, PU: 20.00 db.


Képek

További információ

NIRO M6 csavar
M6 csavarbiztosítás
akaratlan oldás vagy meglazulás ellen
vibráció következtében (önbiztosító)
sodronykapocs MPE S 35 ER, ill. MPE S 50/70 ER számára
Anyag: NIRO

Gyártó: DEHN
Típus: FR A6 V2A
Cikksz.: 524906
vagy egyenértékű.

Tanúsítványok

 

Műszaki adatok

Anyag NIRO
Kivitel A6

A 524906 termék hozzá lett adva a jegyzettömbhöz.

A 524906 terméket hozzáadtuk a kosárhoz.

Webshop indítása

back to top