Flat Strip Holders DEHNhold

For fixing flat conductors via a slotted clamp, fixed conductor routing.
For use with different materials, e.g. Al, StSt, St/tZn and Cu.

With female thread

1 Termék

Cikkszám 274030 FBH ZS 30 M8 V2A

GTIN 4013364130340, Vámtarifa szám (EU): 85389099, Bruttó súly: 35.90 g, PU: 50.00 pc(s)

Kifutott termék:

Képek

További információ

DEHNhold flat strip holder with female thread, StSt
DEHNhold flat strip holder
For fixing flat conductors via a slotted clamp,
fixed conductor routing.
Material of conductor holder: StSt
Conductor support Fl: 30 x 3.5 mm
Height of conductor holder: 20 mm
Thread of conductor holder: M8

Brand: DEHN
Type: FBH ZS 30 M8 V2A
Part No.: 274030
or equivalent.

Tanúsítványok

 

Műszaki adatok

Material of conductor holder StSt
Conductor support Fl 30 x 3.5 mm
Conductor support Rd 6-10 mm
Height of conductor holder 20 mm
Thread of conductor holder M8
Standard EN 62561-4

A 274030 termék hozzá lett adva a jegyzettömbhöz.

A 274030 terméket hozzáadtuk a kosárhoz.

Webshop indítása

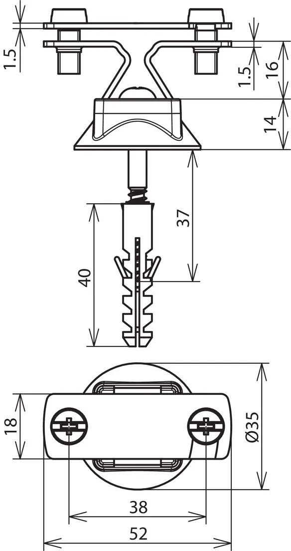
Pre-assembled with screw, plastic base and plug

1 Termék

Cikkszám 274230 FBH ZS 30 KS KD8X40 V2A

GTIN 4013364130456, Vámtarifa szám (EU): 85389099, Bruttó súly: 46.90 g, PU: 50.00 pc(s)

Kifutott termék:

Képek

További információ

DEHNhold flat strip holder, pre-assembled, with screw, StSt
DEHNhold strip holder for fixing flat conductors via a
slotted clamp, fixed conductor routing.
Pre-assembled with screw, plastic base and plug
Material of conductor holder: StSt
Conductor support Fl: 30 x 3.5 mm
Height of conductor holder: 20 mm
Thread of conductor holder: M8
Screw: 5 x 50 mm
Plastic plug: Ø8 x 40 mm

Brand: DEHN
Type: FBH ZS 30 KS KD8X40 V2A
Part No.: 274230
or equivalent.

Tanúsítványok

 

Műszaki adatok

Material of conductor holder StSt
Conductor support Fl 30 x 3.5 mm
Conductor support Rd 6-10 mm
Height of conductor holder 20 mm
Thread of conductor holder M8
Screw ak 5 x 50 mm
Plastic plug Ø8 x 40 mm
Standard EN 62561-4

A 274230 termék hozzá lett adva a jegyzettömbhöz.

A 274230 terméket hozzáadtuk a kosárhoz.

Webshop indítása

back to top