Párhuzamos összekötők robbanásveszélyes terekhez 1/21, 2/22 zóna

Párhuzamos összekötők rugós alátéttel kör keresztmetszetű vezető/sodrony összekötésére/csatlakoztatására robbanásveszélyes térben 1/21, 2/22 zóna. A kapcsok az DIN EN 62305-3 2. nemzeti kiegészítés (VDE 0185-305-3 Bbl 2) szerint kilazulás ellen biztosítottak.

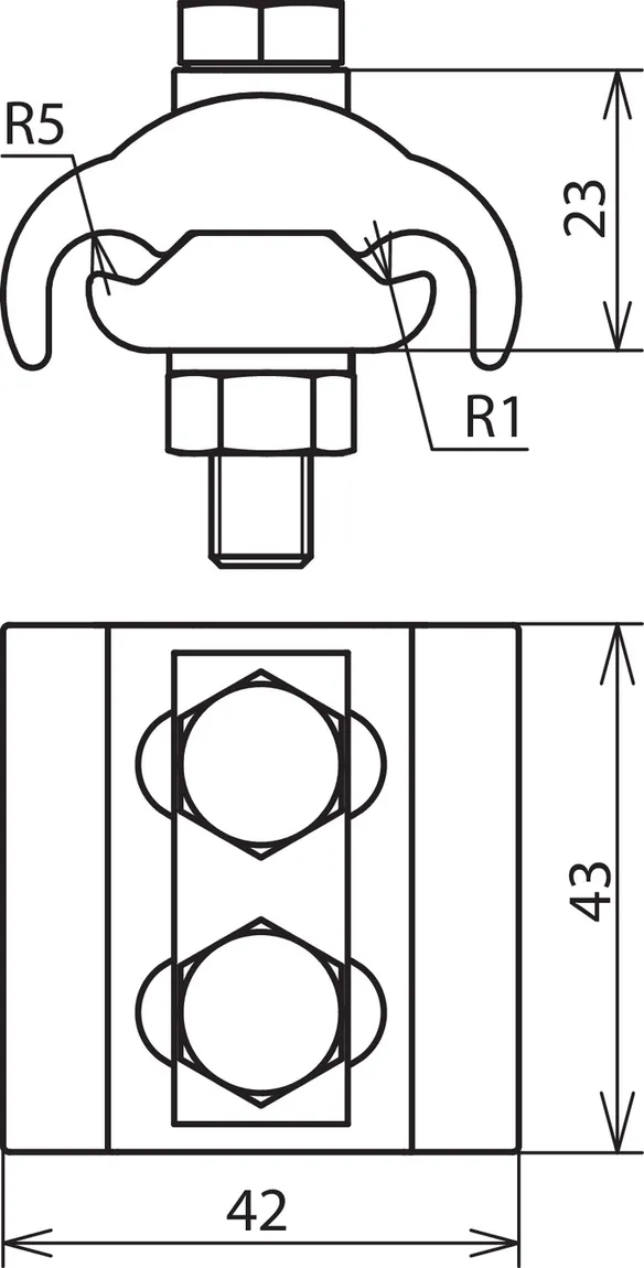
Azonos és különböző sodronyátmérőhöz, kicsi

1 Termék

Cikkszám 306105 PV 5.12.5 SKM8X45 GSG CUGALSN

GTIN 4013364269125, Vámtarifa szám (EU): 85369095, Bruttó súly: 250.00 g, PU: 1.00 db.


Képek

További információ

Párhuzamos összekötő különböző sodronyátmérőkre kicsi Cu/gal Sn
Párhuzamos potenciálkiegyenlítő rendszer létrehozásához robbanékony légkörben. Gyújtószikramentes ellenőrzött potenciálisan robbanásveszélyes térben történő alkalmazásra Ex zóna 1 és 2-ben (IIC robbanási csoport gázok), valamint Ex zóna 21 és 22-ben (porok). Kivitel kicsi, különböző sodronyátmérőkre, rugós alátéttel és két csavarral, önlazulás ellen biztosított a DIN EN 62305-3 2. melléklet szerint.
Kapocs anyaga: Cu/gal Sn
Befogási tartomány Rd / Rd: 5-12,5 mm
Befogási tartomány (többhuzalos / sodrony): 16-95 mm2
Szabványhivatkozás: a DIN EN 62561-1 szerint

Gyártó: DEHN
Típus: PV 5.12.5 SKM8X45 GSG CUGALSN
Cikksz.: 306105
vagy egyenértékű.

Tanúsítványok

 

Műszaki adatok

Kapocs anyaga Cu/gal Sn
Befogási tartomány Rd / Rd 5-12,5 mm
Befogási tartomány (többhuzalos / sodrony) 16-95 mm2
Villámáram impulzus (10/350 µs) gyújtószikramentes 25 kA
Rövidzárlati áram (50 Hz) (0,1 s) gyújtószikramentes 1,65 kA
Szabványhivatkozás a DIN EN 62561-1 szerint
*) A pontos hozzárendelést lásd a vizsgálati tanúsítványban.

A 306105 termék hozzá lett adva a jegyzettömbhöz.

A 306105 terméket hozzáadtuk a kosárhoz.

Webshop indítása

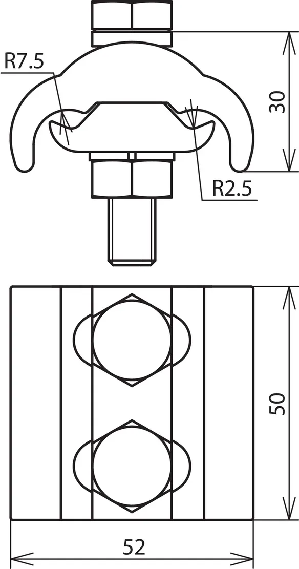
Azonos és különböző sodronyátmérőhöz, nagy

1 Termék

Cikkszám 306106 PV 5.16 SKM10X50 GSG CUGALSN

GTIN 4013364269149, Vámtarifa szám (EU): 85369095, Bruttó súly: 424.40 g, PU: 1.00 db.


Képek

További információ

Párhuzamos összekötő különböző sodronyátmérőkre nagy Cu/gal Sn
Párhuzamos potenciálkiegyenlítő rendszer létrehozásához robbanékony légkörben. Gyújtószikramentes ellenőrzött potenciálisan robbanásveszélyes térben történő alkalmazásra Ex zóna 1 és 2-ben (IIC robbanási csoport gázok), valamint Ex zóna 21 és 22-ben (porok). Kivitel nagy, különböző sodronyátmérőkre, rugós alátéttel és két csavarral, önlazulás ellen biztosított a DIN EN 62305-3 2. melléklet szerint.
Kapocs anyaga: Cu/gal Sn
Befogási tartomány Rd / Rd: 5-16 mm
Befogási tartomány (többhuzalos / sodrony): 16-150 mm2
Szabványhivatkozás: a DIN EN 62561-1 szerint

Gyártó: DEHN
Típus: PV 5.16 SKM10X50 GSG CUGALSN
Cikksz.: 306106
vagy egyenértékű.

Tanúsítványok

 

Műszaki adatok

Kapocs anyaga Cu/gal Sn
Befogási tartomány Rd / Rd 5-16 mm
Befogási tartomány (többhuzalos / sodrony) 16-150 mm2
Villámáram impulzus (10/350 µs) gyújtószikramentes 25 kA
Rövidzárlati áram (50 Hz) (0,1 s) gyújtószikramentes 1,65 kA
Szabványhivatkozás a DIN EN 62561-1 szerint
*) A pontos hozzárendelést lásd a vizsgálati tanúsítványban.

A 306106 termék hozzá lett adva a jegyzettömbhöz.

A 306106 terméket hozzáadtuk a kosárhoz.

Webshop indítása

back to top