Vezetőtartó átfedéssel és fedőköteggel

Komplett egység fedőköteggel fogó- és földbevezető rudak fektetésére, fix vezetékezés.

Belső menettel

1 Termék

Cikkszám 275116 SH ZS 16 M8 V2A

GTIN 4013364095823, Vámtarifa szám (EU): 85389099, Bruttó súly: 98.00 g, PU: 50.00 db.


Képek

További információ

Vezetőtartó átfedéssel és fedőköteggel
Vezetőtartó, átfedéssel és fedőköteggel komplett egység fedőköteggel fogó-
és földbevezető rudak fektetésére, Rd 16 mm vezetőhöz, fix
vezetékezés
Átfedés anyaga: St/tZn
Alsó rész anyaga: ZG

Gyártó: DEHN
Típus: SH ZS 16 M8 V2A
Cikksz.: 275116
vagy egyenértékű.

 

Műszaki adatok

Vezetéktartó fogadó Rd 16 mm
Vezetéktartó menet M8
Vezetéktartó építési magasság 20 mm
Átfedés anyaga St/tZn
Alsó rész anyaga ZG

A 275116 termék hozzá lett adva a jegyzettömbhöz.

A 275116 terméket hozzáadtuk a kosárhoz.

Webshop indítása

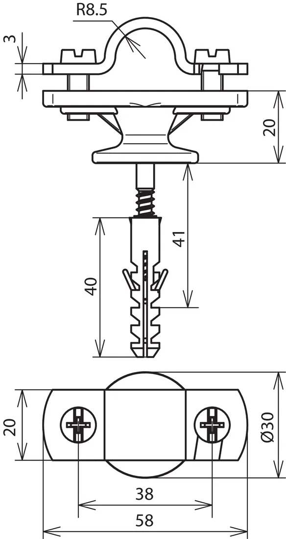
Előszerelt csavarral és tiplivel

1 Termék

Cikkszám 275260 SH ZS 16 KD8X40 STTZN ZG

GTIN 4013364095830, Vámtarifa szám (EU): 85389099, Bruttó súly: 102.30 g, PU: 50.00 db.


Képek

További információ

Vezetőtartó átfedéssel és fedőköteggel (előszerelt)
Vezetőtartó, átfedéssel és fedőköteggel komplett egység fedőköteggel fogó-
és földbevezető rudak fektetésére, Rd 16 mm vezetőhöz, fix
vezetékezés
előszerelt csavarral és tiplivel
Átfedés anyaga: St/tZn
Alsó rész anyaga: ZG
Csavar: 5 x 50 mm

Gyártó: DEHN
Típus: SH ZS 16 KD8X40 STTZN ZG
Cikksz.: 275260
vagy egyenértékű.

 

Műszaki adatok

Vezetéktartó fogadó Rd 16 mm
Vezetéktartó menet M8
Vezetéktartó építési magasság 20 mm
Átfedés anyaga St/tZn
Alsó rész anyaga ZG
Csavar ak 5 x 50 mm
Műanyagtipli Ø8 x 40 mm

A 275260 termék hozzá lett adva a jegyzettömbhöz.

A 275260 terméket hozzáadtuk a kosárhoz.

Webshop indítása

back to top