Potenciálvezérlés

Hálószőnyeg lépésfeszültség elleni védelemre

A VDE/ABB „Menedékházak villámvédelme” kiadványának megfelelően

A hálószőnyegek átfedő fektetésénél hálószőnyegenként mintegy 6 db összekötő kapocs szükséges (korrózióvédő szalaggal cikkszám 556 125).
Pontosabb adatokat a hozzátartozó szerelési útmutató tartalmaz.

Megjegyzés:
A hálószőnyegek a normatív követelményeknek megfelelően a DIN VDE 0151 szerint pácoltak és passziváltak.

1 Termék

Cikkszám 618214 GMA 250 2000X1000X4 V4A

GTIN 4013364322950, Vámtarifa szám (EU): 73141400, Bruttó súly: 2.00 kg, PU: 1.00 db.


Képek

További információ

Hálószőnyeg lépésfeszültség elleni védelemre
a(z) … szabványnak megfelelően VDE/ABB kiadványa szerint
„Menedékházak villámvédelme”
normatív követelményének megfelelően
DIN VDE 0151 pácolt és passzivált
Anyag: NIRO (V4A)
Méret: 2000 x 1000 x 4 mm
Lyukméret: 250 mm

Gyártó: DEHN
Típus: GMA 250 2000X1000X4 V4A
Cikksz.: 618214
vagy egyenértékű.

 

Műszaki adatok

Anyag NIRO (V4A)
Anyagszám 1.4571 / 1.4404 / 1.4401
ASTM / AISI: 316Ti / 316L / 316
Méret (h x sz x mé) 2000 x 1000 x 4 mm
Lyukméret 250 mm

A 618214 termék hozzá lett adva a jegyzettömbhöz.

A 618214 terméket hozzáadtuk a kosárhoz.

Webshop indítása

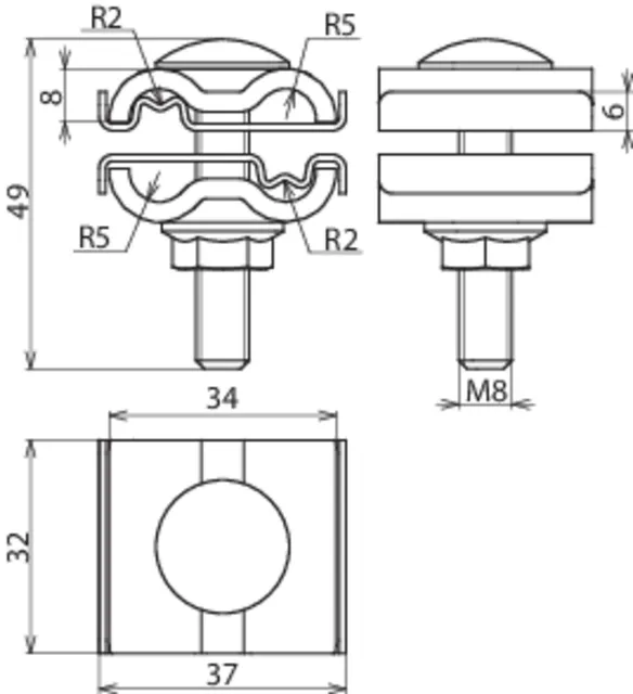
Összekötő kapocs hálószőnyegekhez

Összekötő kapocs hálószőnyegek összekapcsolására, ill. hálószőnyegek földelőrendszerekre csatlakoztatására.

2 Termékek

Cikkszám 540271 MMVK 3.5 8.10 SKM8X30 V4A

GTIN 4013364385306, Vámtarifa szám (EU): 85359000, Bruttó súly: 52.08 g, PU: 50.00 db.


Képek

További információ

Összekötő kapocs hálószőnyegek összekapcsolásához,
ill. hálószőnyegek földelőrendszerekre csatlakoztatására
M8 csavarral
Anyag: NIRO (V4A)
Befogási tartomány Rd: 3-10 mm
Csatlakozás (egy- / többhuzalos): 16 mm2
Villámáram impulzus (10/350 µs): 25 kA
Szabványhivatkozás: a DIN EN 62561-1 szerint

Gyártó: DEHN
Típus: MMVK 3.5 8.10 SKM8X30 V4A
Cikksz.: 540271
vagy egyenértékű.

Tanúsítványok

 

Műszaki adatok

Anyag NIRO (V4A)
Anyagszám 1.4571 / 1.4404 / 1.4401
ASTM / AISI: 316Ti / 316L / 316
Befogási tartomány Rd 3-10 mm
Csatlakozás (egy- / többhuzalos) 16 mm2
Villámáram impulzus (10/350 µs) 25 kA
Szabványhivatkozás a DIN EN 62561-1 szerint

A 540271 termék hozzá lett adva a jegyzettömbhöz.

A 540271 terméket hozzáadtuk a kosárhoz.

Webshop indítása

Cikkszám 540270 UEK 8.10 AQ3/4 M8 V4A

GTIN 4013364320536, Vámtarifa szám (EU): 85359000, Bruttó súly: 99.56 g, PU: 50.00 db.


Képek

További információ

Összekötő kapocs hálószőnyegek összekapcsolásához,
ill. hálószőnyegek földelőrendszerekre csatlakoztatására
M8 csavarral és zárófoganyával.
Anyag: NIRO (V4A)
Befogási tartomány Rd / Rd: 8-10 / 3-4 mm
Befogási tartomány Rd / Rd : 3-4 / 3-4 mm
Csatlakozás (egy- / többhuzalos): 4-50 mm2
Villámáram impulzus (10/350 µs): 25 kA
Szabványhivatkozás: a(z) … szabványnak megfelelően DIN 62561-1

Gyártó: DEHN
Típus: UEK 8.10 AQ3/4 M8 V4A
Cikksz.: 540270
vagy egyenértékű.

 

Műszaki adatok

Anyag NIRO (V4A)
Anyagszám 1.4571 / 1.4404 / 1.4401
ASTM / AISI: 316Ti / 316L / 316
Befogási tartomány Rd / Rd 8-10 / 3-4 mm
Befogási tartomány Rd / Rd 3-4 / 3-4 mm
Csatlakozás (egy- / többhuzalos) 4-50 mm2
Villámáram impulzus (10/350 µs) 25 kA
Szabványhivatkozás a(z) … szabványnak megfelelően DIN 62561-1

A 540270 termék hozzá lett adva a jegyzettömbhöz.

A 540270 terméket hozzáadtuk a kosárhoz.

Webshop indítása

back to top