DEHNcon-H

A felfogó csupasz, nem szigetelt huzaljainak fektetésekor közvetlenül a tetőn a technika jelenlegi állása és az aktuális DIN EN 62305-3 (VDE 0185-305-3) villámvédelmi szabvány szerint be kell tartani az elválasztási távolságot a tetőfelület alatt fektetett elektromos és fémes rendszerekhez. A tetőfedés alatt gyakran vezetékszerelvények, csőrendszerek és fémes elemek találhatók a felfogók/levezetések közvetlen közelében és közelítési problémát jelenthetnek. A megoldás az ilyen közelítési problémára az elszigetelt fogóberendezések alkalmazása nagyfeszültség-szigetelt levezetésekkel.

– Új rendszer az adó-/vevőberendezések (parabola-, földi antennák) vagy teljes épületek vagy épületrészek elszigetelt fogóberendezései számára
– Vizuálisan illeszkedő kivitel a HVI light vezeték belső fektetése által a támasztócsőben, támasztócsövek csökkentett mérete (Al-cső 40x5 mm) a teljes felépítés csekélyebb súlyával, meglévő antenna-állványcsövekre szereléshez is
– A belső végelzáró flexibilis NIRO-szalaggal van a potenciálkiegyenlítésre csatlakozáshoz a támasztócső alsó végén kivezetve
– Nagyfeszültség-álló szigetelt levezetés az elválasztási távolság betartásához elektromosan vezető elemekhez a DIN EN 62305-3 (VDE 0185-305-3) szerint
– Ekvivalens elválasztási távolság s ≤ 45 cm (levegőben) vagy s ≤ 90 cm (szilárd építőanyag)
Támasztócső szigetelő szakasszal üvegszál erősítésű műanyagból (GFK) cső Ø30 mm
– Anyagtényező km = 0,7
– Szín világosszürke, UV-stabilizált

A HVI light vezeték teljesíti a DIN IEC/TS 62561-8 (VDE V 0185-561-8) szerinti követelményeket.

Details

Részletek – támasztócső vezetékfektetéssel.
lorem ipsum

HVI light plus vezeték támasztócsőben felfogócsúccsal

Belső végelzáróval és felfogócsúccsal NIRO, Ø10 mm

4 Termékek

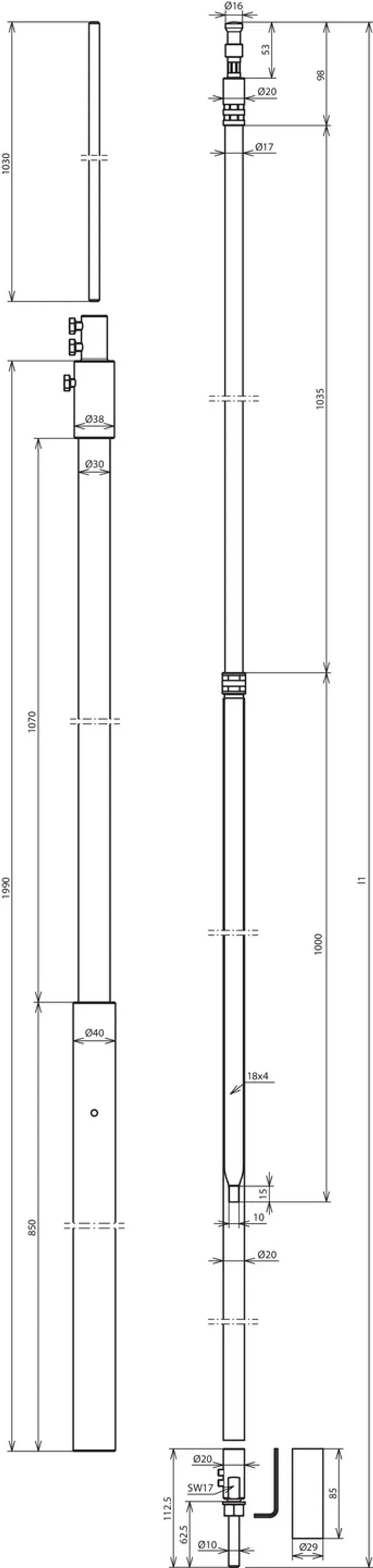
Cikkszám 819255 HVI LI 20 L6M SR1990 FSP500 GFK AL V2A

GTIN 4013364255371, Vámtarifa szám (EU): 85389099, Bruttó súly: 6.84 kg, PU: 1.00 db.

Kifutott termék:

Képek

További információ

DEHNcon-H HVI light vezeték 1990 mm támasztócsőben 500 mm felfogócsúccsal
DEHNcon-H elszigetelt fogóberendezés
pl. adó-/vevőberendezéseknél
(parabola-, földi antennák).
Vizuálisan illeszkedő kivitel a HVI light vezeték belső fektetésével
a támasztócsőben
Nagyfeszültség-álló szigetelt levezetés az elválasztási távolság
betartásához elektromosan vezető elemekhez
a DIN EN 62305-3 (VDE 0185-305-3) szerint.
Ekvivalens elválasztási távolság s =< 45 cm (levegőben)
vagy s =< 90 cm (szilárd építőanyag).
A tartócsövek az
Eurocode 1 (DIN EN 1991-1-4 + DIN EN 1991-1-4/NA) szerint vannak méretezve.
HVI light vezeték támasztócsőben fektetve, speciális
belső végelzáróval és felfogócsúccsal Ø10 mm, hossz 500 mm.
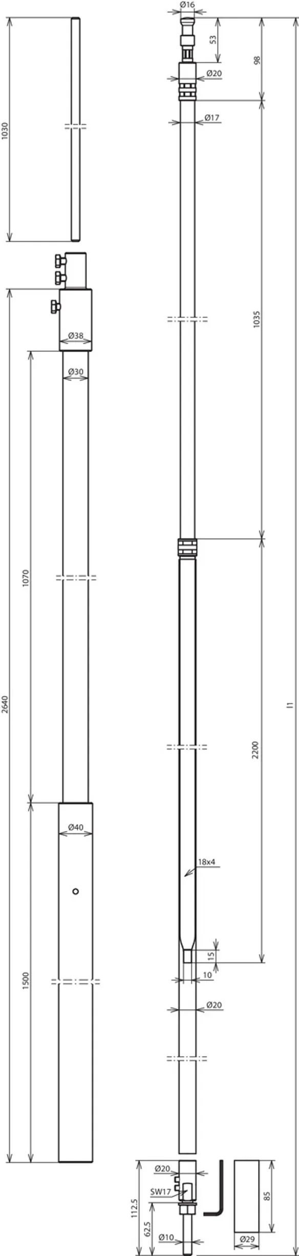
Tartócső anyaga: Üvegszál erősítésű műanyag (GRP) / Al
Tartócső hossza: 1990 mm
Átmérő Ø vezeték: 20 mm
Vezeték színe: szürke ●
Vezető anyaga: Cu
Ekvivalens elválasztási távolság s (levegőben): ≤ 45 cm
Minimálisan rendelhető hossz: 6 m
Max. széllökés sebesség: (max. szabad hosszúság 1890 mm, 1x HVI light belül) 240 km/h
Max. szabad hossz: 1890 mm
Min. befogási hossz: 600 mm
Szabványhivatkozás: DIN IEC/TS 62561-8 (VDE V 0185-561-8)

Gyártó: DEHN
Típus: HVI LI 20 L6M SR1990 FSP500 GFK AL V2A
Cikksz.: 819255
vagy egyenértékű.

Tanúsítványok

 

Műszaki adatok

Tartócső anyaga Üvegszál erősítésű műanyag (GRP) / Al
Tartócső hossza 1990 mm
Felfogócsúcs hossza 500 mm
Vezető anyaga Cu
Ekvivalens elválasztási távolság s (levegőben) ≤ 45 cm
Minimálisan rendelhető hossz 6 m
Max. széllökés sebesség (max. szabad hosszúság 1890 mm, 1x HVI light belül) 240 km/h
Max. szabad hossz 1890 mm
Min. befogási hossz 600 mm
Szabványhivatkozás DIN IEC/TS 62561-8 (VDE V 0185-561-8)

A 819255 termék hozzá lett adva a jegyzettömbhöz.

A 819255 terméket hozzáadtuk a kosárhoz.

Webshop indítása

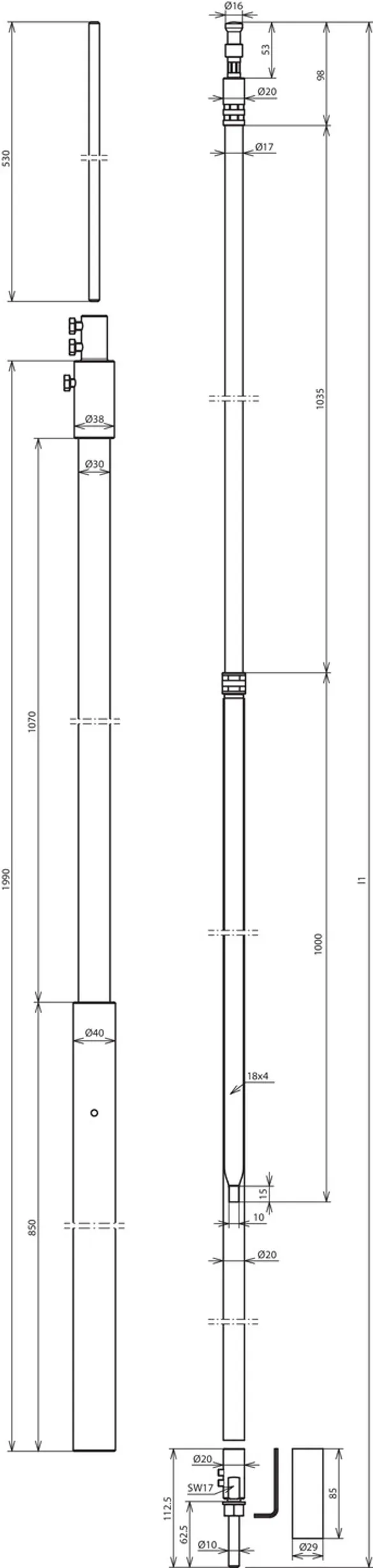
Cikkszám 819256 HVI LI 20 L6M SR1990 FSP1000 GFK AL V2A

GTIN 4013364255388, Vámtarifa szám (EU): 85389099, Bruttó súly: 7.14 kg, PU: 1.00 db.

Kifutott termék:

Képek

További információ

DEHNcon-H HVI light vezeték támasztócsőben 1990 mm felfogócsúccsal 1000 mm
DEHNcon-H elszigetelt fogóberendezés
pl. adó-/vevőberendezéseknél
(parabola-, földi antennák).
Vizuálisan illeszkedő kivitel a HVI light vezeték belső fektetésével
a támasztócsőben
Nagyfeszültség-álló szigetelt levezetés az elválasztási távolság
betartásához elektromosan vezető elemekhez
a DIN EN 62305-3 (VDE 0185-305-3) szerint.
Ekvivalens elválasztási távolság s =< 45 cm (levegőben)
vagy s =< 90 cm (szilárd építőanyag).
A tartócsövek az
Eurocode 1 (DIN EN 1991-1-4 + DIN EN 1991-1-4/NA) szerint vannak méretezve.
HVI light vezeték támasztócsőben fektetve, speciális
belső végelzáróval és felfogócsúccsal Ø10 mm, hossz 1000 mm.
Tartócső anyaga: Üvegszál erősítésű műanyag (GRP) / Al
Tartócső hossza: 1990 mm
Átmérő Ø vezeték: 20 mm
Vezeték színe: szürke ●
Vezető anyaga: Cu
Ekvivalens elválasztási távolság s (levegőben): ≤ 45 cm
Minimálisan rendelhető hossz: 6 m
Max. széllökés sebesség: (max. szabad hosszúság 2390 mm, 1x HVI light belül) 200 km/h
Max. szabad hossz: 2390 mm
Min. befogási hossz: 600 mm
Szabványhivatkozás: DIN IEC/TS 62561-8 (VDE V 0185-561-8)

Gyártó: DEHN
Típus: HVI LI 20 L6M SR1990 FSP1000 GFK AL V2A
Cikksz.: 819256
vagy egyenértékű.

Tanúsítványok

 

Műszaki adatok

Tartócső anyaga Üvegszál erősítésű műanyag (GRP) / Al
Tartócső hossza 1990 mm
Felfogócsúcs hossza 1000 mm
Vezető anyaga Cu
Ekvivalens elválasztási távolság s (levegőben) ≤ 45 cm
Minimálisan rendelhető hossz 6 m
Max. széllökés sebesség (max. szabad hosszúság 2390 mm, 1x HVI light belül) 200 km/h
Max. szabad hossz 2390 mm
Min. befogási hossz 600 mm
Szabványhivatkozás DIN IEC/TS 62561-8 (VDE V 0185-561-8)

A 819256 termék hozzá lett adva a jegyzettömbhöz.

A 819256 terméket hozzáadtuk a kosárhoz.

Webshop indítása

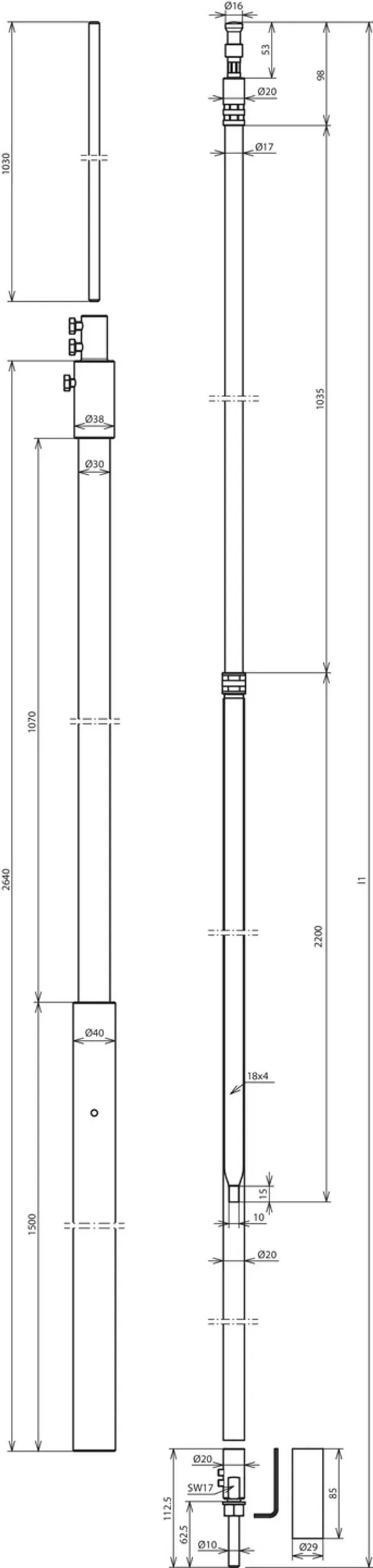
Cikkszám 819257 HVI LI 20 L6M SR2640 FSP500 GFK AL V2A

GTIN 4013364255395, Vámtarifa szám (EU): 85389099, Bruttó súly: 7.79 kg, PU: 1.00 db.

Kifutott termék:

Képek

További információ

DEHNcon-H HVI light vezeték támasztócsőben 2640 mm felfogócsúccsal 500 mm
DEHNcon-H elszigetelt fogóberendezés
pl. adó-/vevőberendezéseknél
(parabola-, földi antennák).
Vizuálisan illeszkedő kivitel a HVI light vezeték belső fektetésével
a támasztócsőben
Nagyfeszültség-álló szigetelt levezetés az elválasztási távolság
betartásához elektromosan vezető elemekhez
a DIN EN 62305-3 (VDE 0185-305-3) szerint.
Ekvivalens elválasztási távolság s =< 45 cm (levegőben)
vagy s =< 90 cm (szilárd építőanyag).
A tartócsövek az
Eurocode 1 (DIN EN 1991-1-4 + DIN EN 1991-1-4/NA) szerint vannak méretezve.
HVI light vezeték támasztócsőben fektetve, speciális
belső végelzáróval és felfogócsúccsal Ø10 mm, hossz 500 mm.
Tartócső anyaga: Üvegszál erősítésű műanyag (GRP) / Al
Tartócső hossza: 2640 mm
Átmérő Ø vezeték: 20 mm
Vezeték színe: szürke ●
Vezető anyaga: Cu
Ekvivalens elválasztási távolság s (levegőben): ≤ 45 cm
Minimálisan rendelhető hossz: 6 m
Max. széllökés sebesség: (max. szabad hosszúság 2540 mm, 1x HVI light belül) 240 km/h
Max. szabad hossz: 2540 mm
Min. befogási hossz: 600 mm
Szabványhivatkozás: DIN IEC/TS 62561-8 (VDE V 0185-561-8)

Gyártó: DEHN
Típus: HVI LI 20 L6M SR2640 FSP500 GFK AL V2A
Cikksz.: 819257
vagy egyenértékű.

Tanúsítványok

 

Műszaki adatok

Tartócső anyaga Üvegszál erősítésű műanyag (GRP) / Al
Tartócső hossza 2640 mm
Felfogócsúcs hossza 500 mm
Vezető anyaga Cu
Ekvivalens elválasztási távolság s (levegőben) ≤ 45 cm
Minimálisan rendelhető hossz 6 m
Max. széllökés sebesség (max. szabad hosszúság 2540 mm, 1x HVI light belül) 240 km/h
Max. szabad hossz 2540 mm
Min. befogási hossz 600 mm
Szabványhivatkozás DIN IEC/TS 62561-8 (VDE V 0185-561-8)

A 819257 termék hozzá lett adva a jegyzettömbhöz.

A 819257 terméket hozzáadtuk a kosárhoz.

Webshop indítása

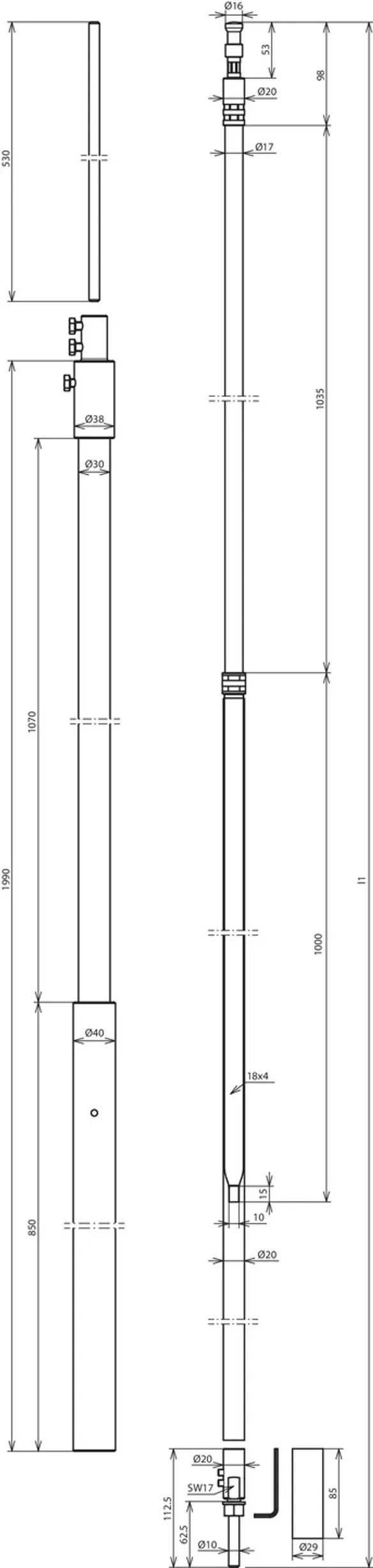
Cikkszám 819258 HVI LI 20 L6M SR2640 FSP1000 GFK AL V2A

GTIN 4013364255418, Vámtarifa szám (EU): 85389099, Bruttó súly: 8.09 kg, PU: 1.00 db.

Kifutott termék:

Képek

További információ

DEHNcon-H HVI light vezeték támasztócsőben 2640 mm felfogócsúccsal 1000 mm
DEHNcon-H elszigetelt fogóberendezés
pl. adó-/vevőberendezéseknél
(parabola-, földi antennák).
Vizuálisan illeszkedő kivitel a HVI light vezeték belső fektetésével
a támasztócsőben
Nagyfeszültség-álló szigetelt levezetés az elválasztási távolság
betartásához elektromosan vezető elemekhez
a DIN EN 62305-3 (VDE 0185-305-3) szerint.
Ekvivalens elválasztási távolság s =< 45 cm (levegőben)
vagy s =< 90 cm (szilárd építőanyag).
A tartócsövek az
Eurocode 1 (DIN EN 1991-1-4 + DIN EN 1991-1-4/NA) szerint vannak méretezve.
HVI light vezeték támasztócsőben fektetve, speciális
belső végelzáróval és felfogócsúccsal Ø10 mm, hossz 1000 mm.
Tartócső anyaga: Üvegszál erősítésű műanyag (GRP) / Al
Tartócső hossza: 2640 mm
Átmérő Ø vezeték: 20 mm
Vezeték színe: szürke ●
Vezető anyaga: Cu
Ekvivalens elválasztási távolság s (levegőben): ≤ 45 cm
Minimálisan rendelhető hossz: 6 m
Max. széllökés sebesség: (max. szabad hosszúság 3040 mm, 1x HVI light belül) 201 km/h
Max. szabad hossz: 3040 mm
Min. befogási hossz: 600 mm
Szabványhivatkozás: DIN IEC/TS 62561-8 (VDE V 0185-561-8)

Gyártó: DEHN
Típus: HVI LI 20 L6M SR2640 FSP1000 GFK AL V2A
Cikksz.: 819258
vagy egyenértékű.

Tanúsítványok

 

Műszaki adatok

Tartócső anyaga Üvegszál erősítésű műanyag (GRP) / Al
Tartócső hossza 2640 mm
Felfogócsúcs hossza 1000 mm
Vezető anyaga Cu
Ekvivalens elválasztási távolság s (levegőben) ≤ 45 cm
Minimálisan rendelhető hossz 6 m
Max. széllökés sebesség (max. szabad hosszúság 3040 mm, 1x HVI light belül) 201 km/h
Max. szabad hossz 3040 mm
Min. befogási hossz 600 mm
Szabványhivatkozás DIN IEC/TS 62561-8 (VDE V 0185-561-8)

A 819258 termék hozzá lett adva a jegyzettömbhöz.

A 819258 terméket hozzáadtuk a kosárhoz.

Webshop indítása

back to top